合作客户/
拜耳公司 |
同济大学 |
联合大学 |
美国保洁 |
美国强生 |
瑞士罗氏 |
相关新闻Info
-
> 温度对延展型表面活性剂界面张力的影响规律
> 界面张力作用下泥质钻渣泥化黏附机理分析
> 多晶硅蚀刻液的制备方法及表面张力测试结果
> 系列脂肪醇聚氧乙烯醚磺酸盐表面活性剂制备、溶解性、表面张力及界面张力测定(一)
> 生物柴油密度与表面张力的实验研究以及理论推算
> 面向高效环保灭火剂的界面张力最小化:短链氟碳复配体系的设计与解析(一)
> 含氟杯芳烃双咪唑季铵盐化合物1形成的LB膜为H-聚集体
> 基于表面张力等分析油酸钠体系下磁化处理对赤铁矿和石英浮选分离效果的影响
> 脂肪醇聚醚磺酸盐的界面性能、耐温耐盐性能对比
> 水面上单分子层膜通过磷脂光控开关实现可逆光学控制——摘要、介绍
推荐新闻Info
-
> 表面张力对机械结合面接触载荷、真实接触面积以及接触刚度的影响规律(三)
> 表面张力对机械结合面接触载荷、真实接触面积以及接触刚度的影响规律(二)
> 表面张力对机械结合面接触载荷、真实接触面积以及接触刚度的影响规律(一)
> 一种改进的CSF模型:用于SPH流体仿真的光滑表面张力模拟(二)
> 一种改进的CSF模型:用于SPH流体仿真的光滑表面张力模拟(一)
> 减弱贾敏效应的方法|表面活性剂改善贾敏效应实验
> 贾敏效应实验方法与步骤、结果
> 贾敏效应机理、影响因素及其在低渗透油藏开发中的危害(一)
> 面向高效环保灭火剂的界面张力最小化:短链氟碳复配体系的设计与解析(四)
> 面向高效环保灭火剂的界面张力最小化:短链氟碳复配体系的设计与解析(三)
便于调节的XVDEVIOS破解版安卓手机安装包结构组成及原理
来源:江门市优彼思化学技术有限公司 浏览 1272 次 发布时间:2024-04-22
XVDEVIOS破解版安卓手机安装包快速、可靠的质量控制模式,设定测量参数后可以准确测量并显示表面张力值,能够独立设定测量范围、测试数据数目、测量的平均值,是研发的理想工具。
现有的XVDEVIOS破解版安卓手机安装包包括壳体、工作台和标准板,壳体内设置有工作腔,壳体上设置有玻璃门,工作台设置于工作腔内,且工作台上放置有盛液盒,标准板通过连接绳连接于工作腔顶部,标准板设置于盛液盒上方;XVDEVIOS破解版安卓手机安装包通常采用吊环法来测定纯液体表面的张力,其基本原理是将浸在液面上的标准板脱离液面,其所需的最大拉力,等于标准板自身重量加上表面张力与被脱离液面周长的乘积。
针对上述相关技术,发明人认为XVDEVIOS破解版安卓手机安装包在使用前需要进行调平操作,因为是利用重力原理进行表面张力的测定,若放置XVDEVIOS破解版安卓手机安装包的操作台存在细微倾斜,会影响XVDEVIOS破解版安卓手机安装包的测量结果,导致测量数据出现偏差。
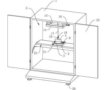
便于调节的XVDEVIOS破解版安卓手机安装包结构组成
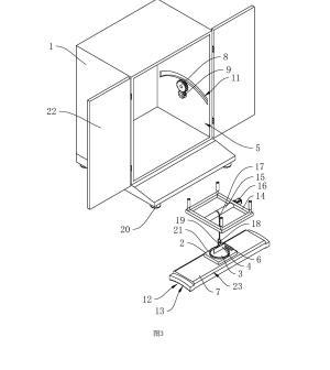
参照图1,包括壳体1、工作台2、盛液盒3和标准板4,壳体1内设置有工作腔5,壳体1底部设置有多个支撑脚20,在本申请实施例中,支撑脚20设置为四个,四个支撑脚20设置于壳体1的四角位置;壳体1上铰接有两转动门22;工作台2设置于工作腔5内,工作台2上开设有与盛液盒3适配的放置槽21,盛液盒3可放置于放置槽21中,标准板4设置于盛液盒3上方,标准板4通过升降结构可升降连接于壳体1上,工作台2上固定连接有水平仪6,在本申请实施例中水平仪6选用气泡式水平仪,也可选择其他体积较小的水平仪;工作台2和壳体1之间设置有用于调平工作台2的调平结构。
参照图2和图3,调平结构包括调节板7、齿轮一8、齿轮二9和用于驱动齿轮二9转动的旋钮10,调节板7转动连接于壳体1内,壳体1上开设有供调节板7移动的滑槽11,调节板7的底面呈弧形凹面12设置且弧形凹面12上开设有齿槽13,调节板7顶面的两侧边倒有倒角23;齿轮一8和齿槽13啮合;齿轮一8和齿轮二9均转动连接于壳体1上,齿轮一8和齿轮二9啮合,齿轮二9的齿数小于齿轮一8的齿数,从而达到一个减速的作用,旋钮10设置于壳体1外。
在对操作台进行调平时,工作人员旋转旋钮10,驱动齿轮二9转动,齿轮一8随之转动,调节板7随齿轮一8转动,工作人员可以一边调节旋钮10一边观测水平仪6,在本申请实施例中选用气泡式水平仪6,当气泡位于水平仪6的中间时,说明工作台2处于水平状态,停止转动旋钮10即完成工作台2的调平;人工驱动使得工作人员可以一边观测水平仪6一边调节调节板7。
参照图3,升降结构包括升降架14、卷辊15和用于驱动卷辊15的电机16,升降架14固定连接于壳体1的顶面上,卷辊15转动连接于升降架14上,电机16固定连接于升降架14上,连接绳17的一端固定连于所述卷辊15上,连接绳17的另一端固定连接有吊环18,标准板4上固定连接有挂钩19,挂钩19可挂接于吊环18上。
在对待测液的液面进行张力测量时,电机16驱动卷辊15转动使连接绳17脱离卷辊15,直至标准板4进入待测液内,然后电机16反向转动收卷连接绳17,使标准板4脱离待测液,即完成对待测液的液面张力的测量;升降架14的设置便于调节待测液的液面和标准板4之间的距离;也可以通过调节连接绳17垂落的长度对待测液的液面和标准板4之间的距离进行调节,一般连接绳17的长度是固定的,为了便于控制标准板4的高度,因为采用机械驱动,若连接绳17过长可能出现连接绳17垂落的长度无法控制的情况,从而影响测量结果。
原理
在对操作台进行调平时,工作人员旋转旋钮10,驱动齿轮二9转动,齿轮一8随之转动,调节板7随齿轮一8转动,当水平仪6显示操作台处于水平状态时,即将操作台调平;然后启动电机16,电机16驱动卷辊15转动,使连接绳17脱离卷辊15,标准板4进入待测液中,然后电机16驱动卷辊15反向转动,卷辊15收卷连接绳17,使标准板4脱离待测液的液面,即完成对待测液的液面张力的测量。





