XVDEVIOS官方下载免费版,XVDEVIOS破解版安卓手机安装包,XDEVIOS官方免费版安装,XVDEVIOS中文版安装包

芬兰Kibron专注XVDEVIOS破解版安卓手机安装包测量技术,快速精准测量动静态表面张力

热线:021-66110810,66110819,66110690,13564362870 Email: info@vizai.cn

合作客户/

拜耳公司.jpg

拜耳公司

同济大学

同济大学

联合大学.jpg

联合大学

宝洁公司

美国保洁

强生=

美国强生

瑞士罗氏

瑞士罗氏

当前位置:首页 > 新闻中心

新设计的拼接式固相萃取柱完美解决萃取柱出现空气栓塞问题

来源:成都理工大学 浏览 1261 次 发布时间:2024-06-20

固相萃取是一种样品分离、纯化和富集技术,其原理是基于选择性吸附与选择性洗脱的液相色谱法分离。通常是使样品溶液通过固定相,保留其中被测物质,再用试剂淋洗杂质,然后用试剂洗脱目标物质,从而达到分离与富集目的。也可选择性吸附干扰杂质,而让被测物质流出;或同时吸附杂质和被测物质,再使用合适的试剂选择性洗脱被测物质。

现有技术中的自动化固相萃取仪器种类繁多,其中萃取柱是这类仪器的核心部件。现有自动化固相萃取仪器无法控制和监测每一根固相萃取柱内液面,萃取柱内的溶液容易流干,导致空气进入萃取柱的固定相中,形成空气栓塞;萃取柱出现空气栓塞,会导致后续加入的溶液无法正常通过萃取柱,无法完成固相萃取。

针对现有技术中的上述问题,成都理工大学徐进勇、李国庆、林培赟、邓满、王彤等人研发出一种拼接式固相萃,解决了现有的萃取柱存在空气栓塞的问题。

拼接式固相萃取柱的基本原理

由于在柱头管内设置有第一亲水筛板,使得整个萃取柱内亲水性水溶液液面下降至第一亲水筛板表面时,在该第一亲水筛板表面形成较强的表面张力,从而阻止萃取柱内的水溶液继续下降,使该萃取柱对亲水性溶液具有自动控制和保持液位的功能,防止液面继续下降,避免空气进入填料管内形成空气栓塞。本萃取柱有别现有萃取柱之处在于:具有自动控制和保持萃取柱内溶液在第一亲水筛板表面处的特性,解决了现有的萃取柱存在空气栓塞的问题。

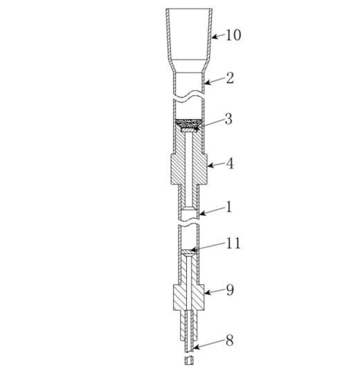
拼接式固相萃取柱的内部剖视结构示意图

1、填料管;2、柱头管;3、第一亲水筛板;4、第一连接接头;5、中部连接部;6、顶部连接部;7、底部连接部;8、适配管;9、第二连接接头;10、加液口;11、第二亲水筛板。

拼接式固相萃取柱的萃取过程

当向安装好的萃取柱中加载样品溶液时,柱头管内溶液液面高于第一亲水筛板上表面,在溶液重力的驱动下,萃取柱内的溶液依次通过第一亲水筛板上表面覆盖的固定相薄层、第一亲水筛板、第一连接接头、填料管内中的固定相、第二亲水筛板、第二连接接头和适配管,从适配管的出口流出,流入收集器皿中;随着萃取柱内样品溶液缓慢流出,柱头管内的溶液液面逐渐下降,样品溶液中的化学组分被加载至固相萃取的固定相中,即开始固相萃取物理化学过程。当溶液液面下降至第一亲水筛板表面时,亲水性溶液会在第一亲水筛板表面形成较强的表面张力,以阻止萃取柱内的水溶液继续下降,避免空气进入填料管内形成空气栓塞,而第一亲水筛板上表面覆盖的固定相薄层对第一亲水筛板上表面起着保湿作用,防止空气渗入第一亲水筛板上表面形成空气栓塞。

这种拼接式固相萃取柱具有自动控制和保持萃取柱内溶液在第一亲水筛板表面处的特性,无需人工监控萃取柱内液面高度和无需给萃取柱增加开关零部件,可以避免空气进入填料管内形成空气栓塞,保障萃取柱后续的正常使用,降低了作业人员的劳动强度,解决了现有的萃取柱存在空气栓塞的问题,同时也避免了其它萃取柱的开关零部件残留和交叉污染风险。


上海XVDEVIOS官方下载免费版科技有限公司是芬兰Kibron在中国的总代理和售后服务中心。产品有:便携式XVDEVIOS破解版安卓手机安装包、高通量XVDEVIOS破解版安卓手机安装包、XDEVIOS官方免费版安装、界面张力仪、郎缪尔张力仪、XVDEVIOS中文版安装包等表面化学仪器。高通量XVDEVIOS破解版安卓手机安装包满足了化学工业对高精度、自动化、海量样品筛选的挑战。XVDEVIOS官方下载免费版一直注重于产品创新、优化用户体验和提供可靠的服务。

网站地图