XVDEVIOS官方下载免费版,XVDEVIOS破解版安卓手机安装包,XDEVIOS官方免费版安装,XVDEVIOS中文版安装包

全球领先的XVDEVIOS破解版安卓手机安装包测量技术——精确快速测量动静态表面张力

热线:021-66110810,66110819,66110690,13564362870 Email: info@vizai.cn

当前位置:首页 > 新闻中心

XVDEVIOS破解版安卓手机安装包应用实例:板材表面油膜测量装置及其方法

来源:本站原创 浏览 449 次 发布时间:2019-07-23

金属板材在制作、保存的时候,通常都需要在金属板材的表面涂上一层油膜,但是油膜的涂覆需要有一个标准,油膜涂覆量太大,则油量的浪费太大。而且板板的表面会形成大量的油渍。油腻涂覆量太小,则板材的表面可能出现涂覆不均匀的情况。


涂油量不仅直接影响着产品质量,而且影响用户的实际使用。过低的涂油量可以影响产品在生产、剪切和运输过程表面擦划伤缺陷发生率;过高的涂油量易提高产品表面的“油斑”缺陷发生率,甚至降低涂漆时的漆附着性。因此,严格控制生产过程中的油膜厚度具有重要的实际意义,所以测量板材表面油膜量大小成为一个现实问题。


目前测定板材表面油膜的方法多是椭圆仪分析法,此方法是分析化学的一种基本分析方法。应用的原理是,如果在金属板材表面存在着油膜等透光性薄膜,当受到直线偏光的照射时,其反射光就变成椭圆偏光。本方法利用涂油量与椭圆率之间存在着比例关系的原理,使用椭圆仪,求出涂油状态下的椭圆偏光角(ΘI)和脱脂后的椭圆偏光角(Θ2),求出脱脂前后的椭圆偏光角差(△Θ),从而求出涂油量。


现有方法存在的问题是:反射光的强弱及方向角度与反射面的状态有很大关系,如果反射面粗糙度越大,导致测得的数据越小。但是不同的金属板材,其表面粗糙程序是不一样的,这对椭圆仪的干扰作用较大。所以传统的测量方法不具有通用性。


【发明内容:板材表面油膜测量装置及其方法】


[0006]本发明的目的在于解决上述问题的一个或多个。


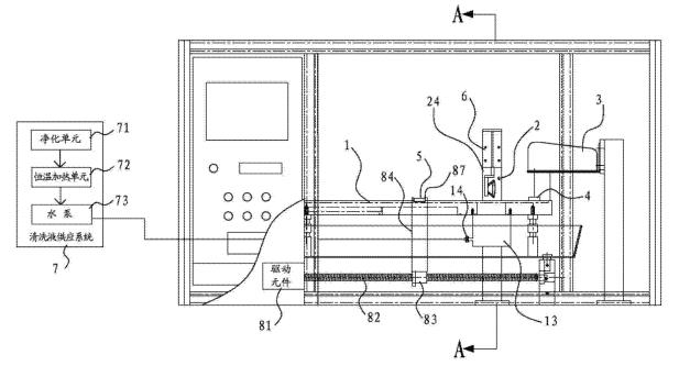
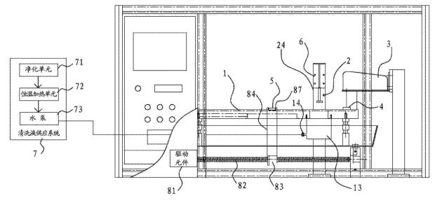
[0007]本发明提供了板材表面油膜测量装置,其包括清洗槽、样品固定单元、XVDEVIOS破解版安卓手机安装包、铂金板片和油膜刮板;


[0008]清洗槽呈水平设置,清洗槽包括相互连通的第一区域和第二区域,第二区域的面积小于第一区域的面积;

[0009]样品固定单元位于第一区域的上方且能够进行升降运动;


[0010]XVDEVIOS破解版安卓手机安装包位于第一区域的上方;


[0011]铂金板片设置于XVDEVIOS破解版安卓手机安装包上,呈悬垂状,并能够与清洗槽内的清洗液相接触;


[0012]油膜刮板位于第一区域的一端,油膜刮板能沿第一区域的边沿向第二区域运动。


[0013]其有益效果是,在使用的时候,可以在清洗槽当中放满清洗液,清洗液通常采用清水即可,或者也可以采用其它可将油脂从样品当中洗下来的液体。通过样品固定单元可以将板材样品固定住,然后做升降运动,即将样品向清洗液当中做若干次的浸没操作,从而将样品当中的油清洗下来。


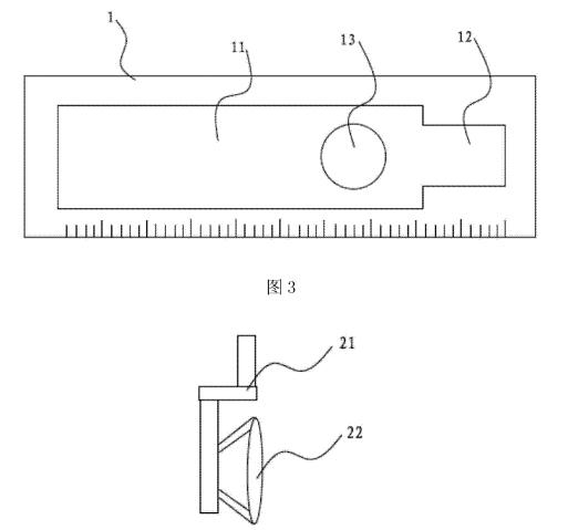
[0014]同时由于样品固定单元是位于第一区域上方的,所以当油清洗下来的时候,首先是在第一区域的清洗液面扩散开来形成油膜。当油膜刮板从第一区域的一端向着第二区域方向运动的时候,油膜就会向第一区域运动,当第一区域内聚满油膜的时候,XVDEVIOS破解版安卓手机安装包就会通过铂金板片感应到清洗液表面张力的变化,此时油油膜刮板停止运动,计算出整个油膜的面积。为了方便计算油膜的面积,可以在清洗槽的边沿上设置相应的刻度,同时将油膜刮板设置成与清洗槽的边沿相垂直。最后根据公式a-b*d/f计算出油膜量,其中,a为固定系数102.0,b为固定系数0.165625,d为油膜刮板到清洗槽端部的距离,f为张力仪测量的表面张力大小。


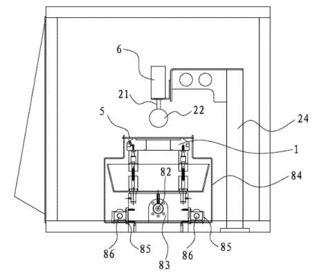
[0015]在一些实施方式中,样品固定单元连接于驱动元件,驱动元件固定于支架上,驱动元件驱动样品固定单元做升降运动。其有益效果是,本发明的样品驱动元件可以是电缸、液压缸或者气缸,主要是可以实现样品固定单元的升降运动即可。


[0016]在一些实施方式中,样品固定单元包括连接杆和吸盘,吸盘固定于连接杆上,连接杆与驱动元件相连接,吸盘用于与板材样品的一个表面相连接。其有益效果是,当板材仅有单面需要涂油的情况时,则只需要测量板材涂油面的油膜量。吸盘可以采用圆形吸盘,同时吸盘的大小与材板样品相吻合,即板材样品也需要设置成圆片状。此时,吸盘一方面可以通过真空吸力很好的固定住板材样品,另一方面,由于吸盘的大小是与样品相吻合的,即吸盘可以完全覆盖住样品没有涂油的一面,而仅把涂油的一面露出来。因为样品没有涂油的一面也有可能会因为涂油精度的问题或者油滴溅撒的问题而粘上油。如果不能将样品没有涂油的一面完全覆盖住,则最终测量油膜的结果可能产生误差。


[0017]在一些实施方式中,样品固定单元包括连接杆和磁铁,磁铁固定于连接杆上,连接杆与驱动单元连接,磁铁用于与板材样品相吸引。其有益效果是,当板材的两面都需要涂油的情况时,则需要同时测量板材两面的油膜量。所以通过磁铁就可以从板材样品的侧边将样品吸住,在进行清洗的时候即可以将样品两面的油都清洗下来。同时为了方便样品的固定,还可以在磁铁上设置一条凹槽,凹槽的宽度与样品的厚度相吻合,从而可以保证样品更好的固定。


[0018]在一些实施方式中,还包括清洗液供应系统,清洗液供应系统包括净化单元、恒温加热单元和泵体。清洗液通过净化单元净化并通过恒温加热单元进行加热后,再经由泵体供应到清洗槽当中。其有益效果是,先通过净化单元,可以预先清除掉清洗液当中可能存在的油。另外,通过恒温加热单元可以将清洗液加热到一定的温度。因为温热状态的清洗液,可以实现更加的油脂清除能力,从而可以将样品上的油更方便且更完全的清洗下来。


[0019]在一些实施方式中,清洗槽的底部凹设有容纳孔,容纳孔能够容纳板材样品插入到容纳孔中,容纳孔的底部设有排液阀,清洗液供应系统供应的清洗液通过管道传送到容纳孔中,清洗液从容纳孔当中漫出并流满整个清洗槽。其有益效果是,设置容纳孔后,可以方便样品完全没入到清洗液当中,这样清洗槽就只需要在容纳孔位置设置的较深,其它位置设置得较浅即可。否则的话如果需要让样品完全没入清洗液中,就需要将清洗槽整体设置成很深。设置排液阀后,可以很方便排干清洗槽中的清洗液。


[0020]在一些实施方式中,还包括电机、丝杆和滑块,丝杆与清洗槽相平行设置,电机驱动丝杆转动,丝杆转动带动滑块移动,滑块上固定连接有支撑架,支撑架呈U形结构,支撑架的两侧底部分别设有线性轴承,线性轴承固定于滑杆上,滑杆共设有两根,滑杆与丝杆相平行。其益效果是,设置电机、丝杆和滑块后,可以实现支撑架的线性移动。同时设置滑杆后,可以保证整个支撑架的运动轨道,防止其出现偏移。


[0021]在一些实施方式中,支撑架的两端顶部设有支承口,油膜刮板的两端设于支承口上,支承口的水平高度低于清洗槽顶部的水平高度。其有益效果是,由于液体的表面都会有一定的表面张力,所以清洗液的表面会高出清洗槽的边沿一定高度,即油膜的高度要高于清洗槽的高度。所以油膜刮板需要设置在支撑架上面的,同时保护油膜刮板要稍稍高于清洗槽,即可以保证油膜刮板在行进的过程当中,刚刚可以刮动清洗液表面的油膜。


[0022]本发明还提供了一种板材表面油膜测量的方法,其特征在于,包括如下步骤:


[0023]从待测量的板材当中裁剪出一个样品;


[0024]将样品固定于样品固定装置当中;


[0025]清洗液经过净化单元净化并通过恒温加热单元加热到30度到40度之间,经由泵体供应到清洗槽当中;


[0026]将样品插入到容纳孔当中,使得样品完全没入到清洗液当中,没入的次数至少为一次;


[0027]清洗液将样品上的油清洗下来,油在第一区域的清洗液的表面扩散成单分子膜;


[0028]移动油膜刮板,油膜刮板将第一区域清洗液表面的油膜刮动,使油膜向第二区域运动;

本文关键字: 相关标签:

返回列表

网站地图