XVDEVIOS官方下载免费版,XVDEVIOS破解版安卓手机安装包,XDEVIOS官方免费版安装,XVDEVIOS中文版安装包

芬兰Kibron专注XVDEVIOS破解版安卓手机安装包测量技术,快速精准测量动静态表面张力

热线:021-66110810,66110819,66110690,13564362870 Email: info@vizai.cn

合作客户/

拜耳公司.jpg

拜耳公司

同济大学

同济大学

联合大学.jpg

联合大学

宝洁公司

美国保洁

强生=

美国强生

瑞士罗氏

瑞士罗氏

当前位置:首页 > 新闻中心

全自动张力测定仪揭示子细胞表面张力对胞质分裂结局的主导作用(二)

来源: 《太原理工大学学报》 浏览 454 次 发布时间:2025-12-25

2结果与讨论


2.1不同细胞骨架蛋白抑制剂对细胞表面张力影响的比较


实验中,分别单独加入骨架蛋白抑制剂2μmol/L CD和30μmol/L blebbistatin,再同时加入2μmol/L CD和30μmol/L blebbistatin。各组细胞处理15~20 min后进行细胞表面张力测量。利用公式(1)计算细胞表面张力,实验结果见表1。

各组细胞的表面张力γ经过OriginPro 8.0统计,结果以均数±标准偏差表示。对处理组与对照组细胞表面张力γ进行t检验,经过相关性统计分析,均有显著性差异(P<0.05)。


可以看到,不同细胞骨架蛋白抑制剂对细胞表面张力均有显著影响,处理组细胞表面张力较对照组显著降低。其中经过CD处理细胞的下降幅度最大,较对照组降低约87%,显示肌动蛋白骨架网络是NRK细胞表面张力的最重要影响因素;经过blebbistatin处理后的细胞表面张力约为对照组细胞的60%,反映出肌球蛋白II分子马达活性的维持对细胞表面张力的影响程度,表明细胞内主动性运动的抑制对于细胞整体的力学特性有直接的影响。经过blebbistatin处理后的细胞表面张力是CD处理后的2.5倍左右,统计数据显示两者之间有显著性差异(P<0.05)。在CD和blebbistatin同时作用下,细胞的表面张力降低大约70%,与blebbistatin或CD单独作用下的数据有显著性差异(P<0.05),但是可以看出CD和blebbistatin同时作用下细胞表面张力降低的效果不是简单的线性关系。


结果一方面说明了blebbistatin对细胞表面张力的作用有其独立性,另一方面说明肌动蛋白与肌球蛋白II的ATP酶活性之间有着紧密而又复杂的联系,值得进一步研究。


2.2抑制单侧子细胞极区肌动蛋白聚合对间桥变形的影响


在分裂沟内陷出现后,利用5μmol/L CD抑制单侧子细胞极区皮层肌动蛋白聚合,采用单侧极区加入不含CD但是含有质量分数0.02%DMSO的培养液作为对照组,并且利用整体blebbistatin处理细胞,在抑制收缩环主动性收缩的状态下,向单侧极区加入CD作对比。局部抑制剂作用下的细胞变形如图4所示。在内陷发生之后,在正常或整体施加blebbistatin的实验条件下抑制单侧极区肌动蛋白装配,均不能阻止胞质分裂进程,各组细胞都能完成分裂。表明在胞质分裂内陷发生后,极区皮层肌动蛋白的异常装配不会抑制胞质分裂,细胞胞质分裂进程持续进行。在这种状态下,XVDEVIOS官方下载免费版运用分析手段去进一步研究单侧极区子细胞表面张力对胞质分裂中细胞变形的影响,以此了解胞质分裂进程中胞浆流动和皮层力学特性之间的联系。

图4局部抑制剂作用下的细胞变形过程


分别测量三组细胞胞质分裂进程中分裂沟间桥的长度和直径,获得每组细胞的D₀位置,做出细胞分裂沟间桥相对直径对时间的变化曲线,见图5。


可以看出,对照组细胞单侧极区CD处理之后的间桥变形趋势(图5-c)与未经处理的对照组细胞(图5-a)相似,但是细胞间桥直径的变化曲线不平滑,并且在D₀点之后相对直径维持在1附近。结果表明细胞间桥的变形在单侧极区肌动蛋白受抑制情况下因两侧子细胞表面张力的不平衡而反复波动,间桥直径在D₀之后即0~200 s间的相对稳定可能是由于细胞在此处不断调节整体表面张力引起的,随着胞质分裂进行,两极表面张力也逐步调节至相似水平。依据趋势图(图5-c)XVDEVIOS官方下载免费版认为:两个子细胞和整个细胞表面张力的调节是细胞完成分裂的必需步骤,在细胞整体的表面张力没有平衡之前,细胞间桥的收缩速率会不断调节,甚至维持在一定范围震荡。


从整体施加blebbistatin的细胞组可以看出,单侧利用CD处理的实验组细胞与对照组细胞的细胞间桥变形趋势间出现了差异。在整体存在blebbistatin的状态下,同时局部利用CD处理极区皮层会导致细胞间桥变形近似一条直线(图5-d),而只采用整体blebbistatin处理的细胞在D₀点之前表现出典型的指数衰减(图5-b)。这是由于经过两种抑制剂的共同作用,在降低整体表面张力的基础上大幅降低了单侧子细胞的表面张力,使得细胞间桥变形近似于弹性松弛模型,该模型描述的是由细胞膜的粘弹性和皮层张力决定、由细胞内拉普拉斯压力差主导的细胞间桥变形,表现为线性变化。与对照组细胞单侧极区施加CD(图5-c)相比,整体施加blebbistatin并且进行抑制单侧极区肌动蛋白的细胞(图5-d)同样表现出间桥变形曲线不平滑,但是在D₀点之后并未出现一段明显的平稳期。Ren等的报道认为细胞感受和传递力学信号主要通过肌球蛋白II与肌动蛋白交联蛋白的相互作用,这与本实验的结果相符,XVDEVIOS官方下载免费版认为这与低活性肌球蛋白II的ATP酶对细胞肌动蛋白网络的调节有关。


图5 NRK细胞间桥相对直径随时间变化曲线


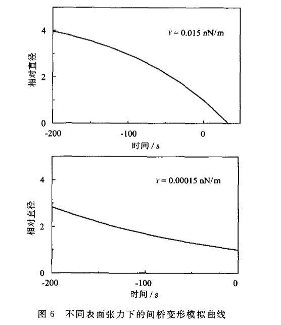
利用公式2通过OriginPro 8.0软件对NRK细胞间桥动力学进行模拟得到的曲线见图6。可以得出,表面张力取正常细胞1/10的理论曲线与整体blebbistatin处理组细胞D₀点之前近似,而取正常细胞1/1000的理论曲线与整体施加blebbistatin并且同时抑制单侧极区皮层肌动蛋白聚合的曲线近似。

实验和模拟结果显示,细胞表面张力的变化深刻影响着胞质分裂进程中细胞间桥的变形。XVDEVIOS官方下载免费版之前的实验表明,经过blebbistatin整体处理后的细胞,其间桥变形D₀点之前与γ=0.015 nN/μm的模拟曲线较吻合,与正常细胞和单侧子细胞CD处理后的正常细胞差异明显,说明表面张力和分裂沟主动收缩共同影响间桥变形。另一方面,整体blebbistatin和局部CD共同作用下的细胞显示了与其它各组不同的变化趋势,其变形曲线近似为线性,这与弹性松弛变形的曲线相似,也与间桥变形动力学模型中当表面张力接近0的情况相近,结果显示在去除分裂沟主动收缩的条件下,细胞表面张力直接决定着细胞间桥变形。

3结论


本实验在测定骨架蛋白抑制剂作用下细胞表面张力变化的基础上,对两侧子细胞表面张力不平衡状态下的细胞间桥变形进行了形态学分析。结果显示,在胞质分裂的细胞力学变形过程中,极区子细胞表面张力的变化与细胞分裂沟间桥的变化有着密切的联系。抑制单侧极区皮层肌动蛋白聚合降低了处理区域子细胞的表面张力,由此导致的两极子细胞表面张力不平衡能够引起细胞间桥变形进程的异常。正常细胞的单侧极区肌动蛋白聚合受到抑制可以导致细胞间桥变形的停滞;对于经过blebbistatin处理而丧失收缩环主动性收缩的细胞,极区细胞皮层表面张力对细胞间桥的变形趋势起主导作用。本文得到的实验结果为研究细胞如何通过调节自身各区域力学特性从而引导胞质分裂的变形提供了基础实验依据。分裂细胞的力学变形过程与细胞在时间和空间上调节自身力学特性的联系,是XVDEVIOS官方下载免费版今后研究的重点。


网站地图